




Descripción
Absolut moderner, ästhetischer und praktischer Wasserhahn. Es wird strengen Qualitätstests unterzogen, sowohl mit Druckwasser als auch mit Luft, wobei eine bestimmte Anzahl von Öffnungs- und Schließzyklen vorgeschrieben ist, was einer Nutzungsdauer des Produkts von fünfzehn Jahren entspricht.
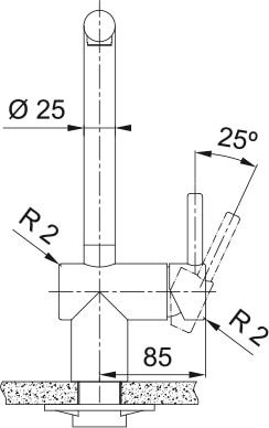
EIGENSCHAFTEN
- Minimalistisches Design, klare Linien und verlängerter Griff. Erhältlich in verschiedenen Ausführungen
- Einfaches Befüllen von großen Töpfen und Behältern aller Art
- Kontrollöffnung 0º / 90º, ideal für die Installation an einer Wand
- Laminarbelüfter: garantiert einen kristallineren Strahl und reduziert außerdem Spritzer und Kalkbildung
- PDV-Finish: Es handelt sich um eine hochwertige Oberflächenbehandlung, die dem Wasserhahn Festigkeit und längere Haltbarkeit verleiht
SPEZIFIKATIONEN
- Material: Edelstahl 304
- Sonderbeschichtung: PVD (Farbmodelle)
- Schwenkauslauf
- Laminarbelüfter
- Kopfdrehung: 180º
- Kontrollöffnung: 0/90
- 12,2 l/min (3 bar)
- Lochdurchmesser: 35 mm
Ref: 115.0628.207
